У Tesla запатентували лазерне очищення скла
Авто Новини
4 грудня 2019
Американська компанія Tesla запатентувала раніше нікем не застосовану технологію.
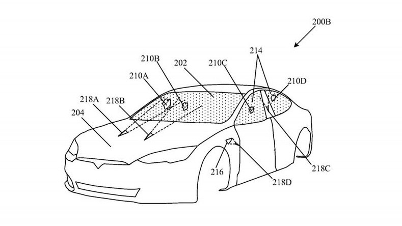
Новинкою стане лазерне очищення лобового скла з сонячними панелями машин. На практиці за рахунок лазера будуть прибиратися всі сторонні елементи.
У поліції Дубая в автопарку з'явиться пікап Tesla
Опублікований відомством з патентів і товарних знаків США файл описує принцип функціонування технології: спецдатчики проводять фіксацію сміття на склах з кузовом машини, а далі лазери проводять усунення небажаних елементів променями.
Міць лазерів регулюється саме так, щоб не шкодити пасажирам і оточуючим. При цьому сенсори будуть відрізняти небажане сміття від наклейок і сонячних козирків. Подібний метод не потребує висихання після очищення за допомогою простих склоочисників, плюс робота не пошкоджує оптику камер з датчиками.
Відбулася презентація першого електропікапа в Tesla (ФОТО, ВІДЕО)
Новинкою стане лазерне очищення лобового скла з сонячними панелями машин. На практиці за рахунок лазера будуть прибиратися всі сторонні елементи.
У поліції Дубая в автопарку з'явиться пікап Tesla
Опублікований відомством з патентів і товарних знаків США файл описує принцип функціонування технології: спецдатчики проводять фіксацію сміття на склах з кузовом машини, а далі лазери проводять усунення небажаних елементів променями.
Міць лазерів регулюється саме так, щоб не шкодити пасажирам і оточуючим. При цьому сенсори будуть відрізняти небажане сміття від наклейок і сонячних козирків. Подібний метод не потребує висихання після очищення за допомогою простих склоочисників, плюс робота не пошкоджує оптику камер з датчиками.
Відбулася презентація першого електропікапа в Tesla (ФОТО, ВІДЕО)